КОМФОРАМА
Интернет-магазин
мебели и товаров для дома
Каталог
По всему сайту
По каталогу
Каталог
Мебель
Банкетки
Вешалки
Гарнитуры
Диваны
Комоды
Кресла
Кровати
Кухонные гарнитуры
Кухонные уголки
Полки
Пуфы
Стеллажи
Стенки
Столы
Стулья
Табуреты
Тумбы
Шкафы
Свет
Бра
Люстры
Настольные лампы
Подсветки
Прожекторы
Светильники
Споты
Торшеры
Уличные светильники
Фонарные столбы
Посуда
Бокалы
Держатели для бумажных полотенец
Диспенсеры для напитков
Доски разделочные
Кастрюли
Ковши
Кружки
Кувшины
Пароварки
Масленки
Менажницы
Миски
Салатники
Тарелки
Сахарницы
Стаканы
Стопки
Формы для выпечки
Ножи
Рюмки
Наборы столовой посуды
Подносы
Сковороды
Сотейники
Тортовницы
Френч-прессы
Чайники
Текстиль
Карнизы
Коврики для ванной
Ковры
Матрасы
Наматрасники
Одеяла
Пледы
Подушки
Покрывала
Портьеры
Скатерти
Халаты
Декор
Зеркала
Электрокамины
Часы
Фонтаны
Услуги
Сборка мебели
Сборка мелкой мебели
Сборка стандартной мебели
Сборка крупной мебели
Установка и подключение светильников
Подключение бра и торшеров
Подключение люстр
Бренды
Блог
Как купить
Условия оплаты
Условия доставки
Гарантия на товар
Контакты
Заказать звонок
Задать вопрос
Войти
  • Корзина0
  • Избранные товары0
  • Сравнение товаров0
mail@comforama.ru

115201, Москва
2-й Котляковский пер., д. 3

192007, Санкт-Петербург
наб. Обводного Канала, д. 64

  • Вконтакте
  • Telegram
  • Viber
  • Viber
  • WhatsApp
  • Акции
  • Оплата
  • Доставка
  • Сборка мебели
  • Подключение светильников
  • Контакты
  • ...
    Войти
    КОМФОРАМА
    Каталог
    Диваны и кресла Диваны и кресла
    Шкафы и стеллажи Шкафы и стеллажи
    Столы и стулья Столы и стулья
    Тумбы и комоды Тумбы и комоды
    Мягкая мебель Мягкая мебель
    Корпусная мебель Корпусная мебель
    Освещение Освещение
    Текстиль и декор Текстиль и декор
    Гостиная Гостиная
    Спальня Спальня
    Прихожая Прихожая
    Кухня Кухня
    Детская Детская
    Декор
    Мебель
    Посуда
    Свет
    Текстиль
      • Диваны по виду
        • Диваны софы
        • Диваны кушетки
        • Диваны кожаные
        • Диваны еврокнижки
        • Диваны аккордеон
      • Диваны по конструкции
        • Диваны раскладные
        • Диваны прямые
        • Диваны угловые
        • Диваны п-образные
        • Диваны универсальные
      • Диваны по помещению
        • Диваны для гостиной
        • Диваны для кухни
        • Диваны для спальни
        • Диваны для офиса
        • Диваны для детской
      • Кресла
        • Кресла раскладные
        • Кресла мешки
        • Кресла качалки
        • Кресла компьютерные
        • Кресла игровые
      • Банкетки
        • Банкетки в прихожую
        • Банкетки в гостиную
        • Банкетки прикроватные
        • Банкетки для обуви
        • Банкетки с ящиками
      • Пуфы
        • Пуфы с ящиками
        • Пуфы для гостиной
        • Пуфы для детской
        • Пуфы для спальни
      • Шкафы по виду
        • Шкафы витрины
        • Шкафы для белья
        • Шкафы для обуви
        • Шкафы книжные
        • Шкафы платяные
        • Шкафы с зеркалом
        • Шкафы детские
      • Шкафы по помещению
        • Шкафы для спальни
        • Шкафы для прихожей
        • Шкафы для гостиной
        • Шкафы для офиса
        • Шкафы для дачи
      • Шкафы по конструкции
        • Шкафы-купе
        • Шкафы угловые
        • Шкафы прямые
        • Шкафы универсальные
      • Стеллажи
        • Стеллажи для гостиной
        • Стеллажи угловые
        • Стеллажи комбинированные
        • Стеллажи книжные
      • Детское
        • Шкафы для детей
        • Стеллажи для детей
        • Гарнитур детский
      • Столы по виду
        • Столы обеденные
        • Столы компьютерные
        • Столы детские
        • Столы садовые столы
        • Столики журнальные
        • Столы барные
        • Столы книжки
      • Столы по конструкции
        • Столы прямые
        • Столы угловые
        • Столы с ящиками
        • Столы трансформеры
        • Столы с подсветкой
        • Столы круглые
        • Столы прямоугольные
      • Стулья
        • Стулья кухонные
        • Стулья мягкие
        • Стулья компьютерные
        • Стулья барные
        • Стулья детские
      • Табуреты
        • Табуреты с мягким сидением
        • Табуреты современные
        • Табуреты лофт
      • Комоды по виду
        • Комоды белые
        • Комоды для детей
        • Комоды современные
        • Комоды с зеркалом
        • Комоды классические
      • Комоды по помещению
        • Комоды для гостиной
        • Комоды для спальни
        • Комоды для прихожей
        • Комоды для офиса
        • Комоды для детей
      • Тумбы по виду
        • Тумбы для ТВ
        • Тумбы прикроватные
        • Тумбы для обуви
        • Тумбы для детей
      • Тумбы по помещению
        • Тумбы для гостиной
        • Тумбы для спальни
        • Тумбы для прихожей
      • Диваны
        • Диваны угловые
        • Диваны прямые
        • Диваны раскладные
        • Диваны аккордеон
        • Диваны книжка
        • Диваны дельфин
        • Диваны пантограф
        • Диваны выкатные
      • Кресла
        • Кресла компьютерные
        • Кресла офисные
        • Кресла игровые
        • Кресла качалки
        • Кресла мешки
        • Кресла черные
        • Кресла раскладные
      • Банкетки
        • Банкетки в прихожую
        • Банкетки с ящиками
        • Банкетки прикроватные
        • Банкетки для обуви
        • Банкетки белые
        • Банкетки современные
        • Банкетки в гостиную
      • Пуфы
        • Пуфы в прихожую
        • Пуфы с ящиками
        • Пуфы детские
        • Пуфы из велюра
        • Пуфы серые
      • Шкафы
        • Шкафы угловые
        • Шкафы для кухни
        • Шкафы для прихожей
        • Шкафы белые
        • Шкафы навесные
        • Шкафы с зеркалом
        • Шкафы книжные
        • Шкафы для спальни
      • Кровати
        • Кровати двуспальные
        • Кровати детские
        • Кровати двухъярусные
        • Кровати односпальные
        • Кровати с ящиками
        • Кровати белые
      • Вешалки
        • Вешалки напольные
        • Вешалки настенные
        • Вешалки в приходую
        • Вешалки с полкой
        • Вешалки черные
        • Вешалки костюмные
      • Тумбы
        • Тумбы под тв
        • Тумбы прикроватные
        • Тумбы белые
        • Тумбы современные
        • Тумбы для кухни
        • Тумбы для прихожей
      • Стулья
        • Стулья обеденные
        • Стулья барные
        • Стулья компьютерные
        • Стулья детские
        • Стулья черные
        • Стулья белые
        • Стулья зеленые
      • Столы
        • Столы письменные
        • Столы компьютерные
        • Столы кухонные
        • Столы круглые
        • Столы обеденные
      • Гарнитуры
        • Гарнитуры кухонные
        • Гарнитуры для спальни
        • Гарнитуры черные
      • Комоды
        • Комоды белые
        • Комоды для детей
        • Комоды современные
      • Стеллажи
        • Стеллажи книжные
        • Стеллажи белые
        • Стеллажи угловые
        • Стеллажи лофт
      • Трюмо
        • Трюмо с зеркалом
        • Трюмо белые
        • Трюмо современные
      • Полки
        • Полки навесные
        • Полки книжные
      • Светильники
        • Светильники подвесные
        • Светильники для натяжных потолков
        • Светильники встраиваемые
        • Светильники накладные
        • Светильники на штанге
        • Светильники с Алисой
      • Люстры
        • Люстры потолочные
        • Люстры подвесные
        • Люстры светодиодные
        • Люстры для детской
        • Люстры с Алисой
      • Бра
        • Бра с подсветкой
        • Бра с полкой
        • Бра с Алисой
        • Бра с Марусей
        • Бра для детской
      • Освещение
        • Настольные лампы
        • Торшеры
        • Подсветки
        • Споты
      • Улица и сад
        • Прожекторы
        • Уличные светильники
        • Фонарные столбы
      • Текстиль для спальни
        • Одеяло
        • Подушки
        • Наматрасники
        • Постельное белье
        • Простыни
        • Пододеяльники
        • Покрывала
        • Пледы
      • Текстиль для дома
        • Коврики для ванной
        • Ковры
        • Наволочки
        • Полотенца
        • Скатерти
        • Халаты
      • Шторы и жалюзи
        • Гардины
        • Жалюзи
        • Карнизы
        • Шторы
        • Шторки для ванной
      • Декор
        • Держатели для зубных щеток
        • Дозаторы для мыла
        • Зеркала
        • Фонтаны
        • Часы
        • Электрокамины
      • Шкафы
        • Шкафы купе
        • Шкафы навесные
        • Шкафы книжные
        • Шкафы витрины
        • Угловые шкафы
      • Стенки и полки
        • Стенки прямые
        • Стенки с зеркалом
        • Стенки горки
        • Полки навесные
        • Полки книжные
      • Освещение в гостиную
        • Люстры подвесные
        • Люстры потолочные
        • Настольные лампы
        • Торшеры
        • Бра
        • Светильники
        • Подсветки
      • Декор
        • Журнальные столики
        • Зеркала
        • Часы
        • Пледы
        • Ковры
        • Декоративные подушки
      • Кресла
        • Кресла качалки
        • Кресла мешки
        • Кресла раскладные
        • Кресла с ящиками
      • Комоды и тумбы
        • Комоды белые
        • Комоды современные
        • Тумбы под тв
        • Тумбы навесные
      • Диваны
        • Диваны прямые
        • Диваны угловые
        • Диваны кожаные
      • Кровати
        • Кровати двуспальные
        • Кровати полутораспальные
        • Кровати односпальные
        • Кровати с ящиками
        • Кровати откидные
      • Шкафы
        • Шкафы для белья
        • Шкафы угловые
        • Шкафы прямые
        • Шкафы навесные
        • Шкафы купе
        • Шкафы витрины
        • Шкафы комбинированные
      • Комоды и тумбы
        • Комоды белые
        • Трюмо
        • Тумбы прикроватные
        • Тумбы навестные
      • Текстиль
        • Постельное белье
        • Подушки
        • Одеяла
        • Пледы
        • Покрывала
        • Шторы
      • Освещение для спальни
        • Люстры потолочные
        • Люстры подвесные
        • Настольные лампы
        • Торшеры
        • Бра
      • Декор
        • Журнальные столики
        • Зеркала
        • Часы
      • Вешалки
        • Вешалки напольные
        • Вешалки настенные
        • Вешалки с полкой
        • Вешалки с ящиками
      • Шкафы
        • Шкафы купе
        • Шкафы для обуви
        • Шкафы угловые
        • Шкафы прямые
        • Шкафы комбинированные
      • Комоды
        • Комоды модерн
        • Тумбы для обуви
        • Тумбы комбинированные
        • Стеллажи для обуви
      • Банкетки и пуфы
        • Банкетки для обуви
        • Банкетки с ящиками
        • Пуфы с ящиками
      • Освещение для прихожей
        • Накладные светильники
        • Бра
        • Светильники подвесные
        • Подсветки
        • Настольные лампы
      • Столы и стулья
        • Столы обеденные
        • Столы барные
        • Столы овальные
        • Стулья обеденные
        • Стулья барные
        • Табуреты барные
        • Столы книжки
      • Мягкая мебель для кухни
        • Диваны угловые
        • Диваны прямые
        • Диваны раскладные
        • Диваны с ящиками
        • Кухонные уголки
        • Пуфы
      • Посуда
        • Наборы столовой посуды
        • Сковороды
        • Кастрюли
        • Формы для выпечки
        • Кружки
        • Бокалы
        • Стаканы
        • Ножи
      • Кухонное освещение
        • Подвесные светильники
        • Светильники на штанге
        • Светильники накладные
        • Светильники встраиваемые
        • Люстры потолочные
      • Кухонные гарнитуры
        • Кухонные гарнитуры
        • Обеденные гарнитуры
      • Декор
        • Винные стеллажи
        • Шторы
        • Скатерти
        • Жалюзи
        • Часы
      • Детская мягкая мебель
        • Диваны детские
        • Кресла детские
        • Пуфы детские
        • Диваны еврокнижки
        • Диваны кушетки
        • Кресла мешки
        • Кресла компьютерные
      • Шкафы и стенки
        • Шкафы детские
        • Шкафы угловые
        • Шкафы прямые
        • Стенки детские
        • Шкафы книжные
        • Шкафы купе
        • Стенки современные
      • Комоды и тумбы
        • Комоды детские
        • Комоды белые
        • Тумбы детские
        • Стеллажи книжные
        • Полки
      • Столы и стулья
        • Столы детские
        • Столы письменные
        • Столы компьютерные
        • Стулья детские
        • Стулья компьютерные
      • Кровати
        • Диваны детские
        • Кровати полутораспальные
        • Кровати двухъярусные
        • Кровати с ящиками
      • Детский текстиль
        • Комплекты постельного белья
        • Одеяла детские
        • Наматрасники детские
        • Пледы детские
        • Ковры детские
      • Освещение для детской
        • Люстры подвесные
        • Люстры потолочные
        • Светильники накладные
        • Светильники на штанге
        • Лампы настольные
        • Бра детские
      • Зеркала
        Зеркала
      • Электрокамины
        Электрокамины
      • Часы
        Часы
      • Фонтаны
        Фонтаны
      • Банкетки
        Банкетки
      • Вешалки
        Вешалки
      • Гарнитуры
        Гарнитуры
      • Диваны
        Диваны
      • Комоды
        Комоды
      • Кресла
        Кресла
      • Кровати
        Кровати
      • Кухонные гарнитуры
        Кухонные гарнитуры
      • Кухонные уголки
        Кухонные уголки
      • Полки
        Полки
      • Пуфы
        Пуфы
      • Стеллажи
        Стеллажи
      • Стенки
        Стенки
      • Столы
        Столы
      • Стулья
        Стулья
      • Табуреты
        Табуреты
      • Тумбы
        Тумбы
      • Шкафы
        Шкафы
      • Бокалы
        Бокалы
      • Держатели для бумажных полотенец
        Держатели для бумажных полотенец
      • Диспенсеры для напитков
        Диспенсеры для напитков
      • Доски разделочные
        Доски разделочные
      • Кастрюли
        Кастрюли
      • Ковши
        Ковши
      • Кружки
        Кружки
      • Кувшины
        Кувшины
      • Пароварки
        Пароварки
      • Масленки
        Масленки
      • Менажницы
        Менажницы
      • Миски
        Миски
      • Салатники
        Салатники
      • Тарелки
        Тарелки
      • Сахарницы
        Сахарницы
      • Стаканы
        Стаканы
      • Стопки
        Стопки
      • Формы для выпечки
        Формы для выпечки
      • Ножи
        Ножи
      • Рюмки
        Рюмки
      • Наборы столовой посуды
        Наборы столовой посуды
      • Подносы
        Подносы
      • Сковороды
        Сковороды
      • Сотейники
        Сотейники
      • Тортовницы
        Тортовницы
      • Френч-прессы
        Френч-прессы
      • Чайники
        Чайники
      • Бра
        Бра
      • Люстры
        Люстры
      • Настольные лампы
        Настольные лампы
      • Подсветки
        Подсветки
      • Прожекторы
        Прожекторы
      • Светильники
        Светильники
      • Споты
        Споты
      • Торшеры
        Торшеры
      • Уличные светильники
        Уличные светильники
      • Фонарные столбы
        Фонарные столбы
      • Карнизы
        Карнизы
      • Коврики для ванной
        Коврики для ванной
      • Ковры
        Ковры
      • Матрасы
        Матрасы
      • Наматрасники
        Наматрасники
      • Одеяла
        Одеяла
      • Пледы
        Пледы
      • Подушки
        Подушки
      • Покрывала
        Покрывала
      • Портьеры
        Портьеры
      • Скатерти
        Скатерти
      • Халаты
        Халаты
    Каталог
    По всему сайту
    По каталогу
    Сравнение0
    Избранные товары 0
    Корзина 0
    КОМФОРАМА
    Сравнение0 Избранные товары 0 Корзина 0
    • Каталог
      • Назад
      • Каталог
      • Диваны и кресла Диваны и кресла
        • Назад
        • Диваны и кресла
        • Диваны по виду
          • Назад
          • Диваны по виду
          • Диваны софы
          • Диваны кушетки
          • Диваны кожаные
          • Диваны еврокнижки
          • Диваны аккордеон
        • Диваны по конструкции
          • Назад
          • Диваны по конструкции
          • Диваны раскладные
          • Диваны прямые
          • Диваны угловые
          • Диваны п-образные
          • Диваны универсальные
        • Диваны по помещению
          • Назад
          • Диваны по помещению
          • Диваны для гостиной
          • Диваны для кухни
          • Диваны для спальни
          • Диваны для офиса
          • Диваны для детской
        • Кресла
          • Назад
          • Кресла
          • Кресла раскладные
          • Кресла мешки
          • Кресла качалки
          • Кресла компьютерные
          • Кресла игровые
        • Банкетки
          • Назад
          • Банкетки
          • Банкетки в прихожую
          • Банкетки в гостиную
          • Банкетки прикроватные
          • Банкетки для обуви
          • Банкетки с ящиками
        • Пуфы
          • Назад
          • Пуфы
          • Пуфы с ящиками
          • Пуфы для гостиной
          • Пуфы для детской
          • Пуфы для спальни
      • Шкафы и стеллажи Шкафы и стеллажи
        • Назад
        • Шкафы и стеллажи
        • Шкафы по виду
          • Назад
          • Шкафы по виду
          • Шкафы витрины
          • Шкафы для белья
          • Шкафы для обуви
          • Шкафы книжные
          • Шкафы платяные
          • Шкафы с зеркалом
          • Шкафы детские
        • Шкафы по помещению
          • Назад
          • Шкафы по помещению
          • Шкафы для спальни
          • Шкафы для прихожей
          • Шкафы для гостиной
          • Шкафы для офиса
          • Шкафы для дачи
        • Шкафы по конструкции
          • Назад
          • Шкафы по конструкции
          • Шкафы-купе
          • Шкафы угловые
          • Шкафы прямые
          • Шкафы универсальные
        • Стеллажи
          • Назад
          • Стеллажи
          • Стеллажи для гостиной
          • Стеллажи угловые
          • Стеллажи комбинированные
          • Стеллажи книжные
        • Детское
          • Назад
          • Детское
          • Шкафы для детей
          • Стеллажи для детей
          • Гарнитур детский
      • Столы и стулья Столы и стулья
        • Назад
        • Столы и стулья
        • Столы по виду
          • Назад
          • Столы по виду
          • Столы обеденные
          • Столы компьютерные
          • Столы детские
          • Столы садовые столы
          • Столики журнальные
          • Столы барные
          • Столы книжки
        • Столы по конструкции
          • Назад
          • Столы по конструкции
          • Столы прямые
          • Столы угловые
          • Столы с ящиками
          • Столы трансформеры
          • Столы с подсветкой
          • Столы круглые
          • Столы прямоугольные
        • Стулья
          • Назад
          • Стулья
          • Стулья кухонные
          • Стулья мягкие
          • Стулья компьютерные
          • Стулья барные
          • Стулья детские
        • Табуреты
          • Назад
          • Табуреты
          • Табуреты с мягким сидением
          • Табуреты современные
          • Табуреты лофт
      • Тумбы и комоды Тумбы и комоды
        • Назад
        • Тумбы и комоды
        • Комоды по виду
          • Назад
          • Комоды по виду
          • Комоды белые
          • Комоды для детей
          • Комоды современные
          • Комоды с зеркалом
          • Комоды классические
        • Комоды по помещению
          • Назад
          • Комоды по помещению
          • Комоды для гостиной
          • Комоды для спальни
          • Комоды для прихожей
          • Комоды для офиса
          • Комоды для детей
        • Тумбы по виду
          • Назад
          • Тумбы по виду
          • Тумбы для ТВ
          • Тумбы прикроватные
          • Тумбы для обуви
          • Тумбы для детей
        • Тумбы по помещению
          • Назад
          • Тумбы по помещению
          • Тумбы для гостиной
          • Тумбы для спальни
          • Тумбы для прихожей
      • Мягкая мебель Мягкая мебель
        • Назад
        • Мягкая мебель
        • Диваны
          • Назад
          • Диваны
          • Диваны угловые
          • Диваны прямые
          • Диваны раскладные
          • Диваны аккордеон
          • Диваны книжка
          • Диваны дельфин
          • Диваны пантограф
          • Диваны выкатные
        • Кресла
          • Назад
          • Кресла
          • Кресла компьютерные
          • Кресла офисные
          • Кресла игровые
          • Кресла качалки
          • Кресла мешки
          • Кресла черные
          • Кресла раскладные
        • Банкетки
          • Назад
          • Банкетки
          • Банкетки в прихожую
          • Банкетки с ящиками
          • Банкетки прикроватные
          • Банкетки для обуви
          • Банкетки белые
          • Банкетки современные
          • Банкетки в гостиную
        • Пуфы
          • Назад
          • Пуфы
          • Пуфы в прихожую
          • Пуфы с ящиками
          • Пуфы детские
          • Пуфы из велюра
          • Пуфы серые
      • Корпусная мебель Корпусная мебель
        • Назад
        • Корпусная мебель
        • Шкафы
          • Назад
          • Шкафы
          • Шкафы угловые
          • Шкафы для кухни
          • Шкафы для прихожей
          • Шкафы белые
          • Шкафы навесные
          • Шкафы с зеркалом
          • Шкафы книжные
          • Шкафы для спальни
        • Кровати
          • Назад
          • Кровати
          • Кровати двуспальные
          • Кровати детские
          • Кровати двухъярусные
          • Кровати односпальные
          • Кровати с ящиками
          • Кровати белые
        • Вешалки
          • Назад
          • Вешалки
          • Вешалки напольные
          • Вешалки настенные
          • Вешалки в приходую
          • Вешалки с полкой
          • Вешалки черные
          • Вешалки костюмные
        • Тумбы
          • Назад
          • Тумбы
          • Тумбы под тв
          • Тумбы прикроватные
          • Тумбы белые
          • Тумбы современные
          • Тумбы для кухни
          • Тумбы для прихожей
        • Стулья
          • Назад
          • Стулья
          • Стулья обеденные
          • Стулья барные
          • Стулья компьютерные
          • Стулья детские
          • Стулья черные
          • Стулья белые
          • Стулья зеленые
        • Столы
          • Назад
          • Столы
          • Столы письменные
          • Столы компьютерные
          • Столы кухонные
          • Столы круглые
          • Столы обеденные
        • Гарнитуры
          • Назад
          • Гарнитуры
          • Гарнитуры кухонные
          • Гарнитуры для спальни
          • Гарнитуры черные
        • Комоды
          • Назад
          • Комоды
          • Комоды белые
          • Комоды для детей
          • Комоды современные
        • Стеллажи
          • Назад
          • Стеллажи
          • Стеллажи книжные
          • Стеллажи белые
          • Стеллажи угловые
          • Стеллажи лофт
        • Трюмо
          • Назад
          • Трюмо
          • Трюмо с зеркалом
          • Трюмо белые
          • Трюмо современные
        • Полки
          • Назад
          • Полки
          • Полки навесные
          • Полки книжные
      • Освещение Освещение
        • Назад
        • Освещение
        • Светильники
          • Назад
          • Светильники
          • Светильники подвесные
          • Светильники для натяжных потолков
          • Светильники встраиваемые
          • Светильники накладные
          • Светильники на штанге
          • Светильники с Алисой
        • Люстры
          • Назад
          • Люстры
          • Люстры потолочные
          • Люстры подвесные
          • Люстры светодиодные
          • Люстры для детской
          • Люстры с Алисой
        • Бра
          • Назад
          • Бра
          • Бра с подсветкой
          • Бра с полкой
          • Бра с Алисой
          • Бра с Марусей
          • Бра для детской
        • Освещение
          • Назад
          • Освещение
          • Настольные лампы
          • Торшеры
          • Подсветки
          • Споты
        • Улица и сад
          • Назад
          • Улица и сад
          • Прожекторы
          • Уличные светильники
          • Фонарные столбы
      • Текстиль и декор Текстиль и декор
        • Назад
        • Текстиль и декор
        • Текстиль для спальни
          • Назад
          • Текстиль для спальни
          • Одеяло
          • Подушки
          • Наматрасники
          • Постельное белье
          • Простыни
          • Пододеяльники
          • Покрывала
          • Пледы
        • Текстиль для дома
          • Назад
          • Текстиль для дома
          • Коврики для ванной
          • Ковры
          • Наволочки
          • Полотенца
          • Скатерти
          • Халаты
        • Шторы и жалюзи
          • Назад
          • Шторы и жалюзи
          • Гардины
          • Жалюзи
          • Карнизы
          • Шторы
          • Шторки для ванной
        • Декор
          • Назад
          • Декор
          • Держатели для зубных щеток
          • Дозаторы для мыла
          • Зеркала
          • Фонтаны
          • Часы
          • Электрокамины
      • Гостиная Гостиная
        • Назад
        • Гостиная
        • Шкафы
          • Назад
          • Шкафы
          • Шкафы купе
          • Шкафы навесные
          • Шкафы книжные
          • Шкафы витрины
          • Угловые шкафы
        • Стенки и полки
          • Назад
          • Стенки и полки
          • Стенки прямые
          • Стенки с зеркалом
          • Стенки горки
          • Полки навесные
          • Полки книжные
        • Освещение в гостиную
          • Назад
          • Освещение в гостиную
          • Люстры подвесные
          • Люстры потолочные
          • Настольные лампы
          • Торшеры
          • Бра
          • Светильники
          • Подсветки
        • Декор
          • Назад
          • Декор
          • Журнальные столики
          • Зеркала
          • Часы
          • Пледы
          • Ковры
          • Декоративные подушки
        • Кресла
          • Назад
          • Кресла
          • Кресла качалки
          • Кресла мешки
          • Кресла раскладные
          • Кресла с ящиками
        • Комоды и тумбы
          • Назад
          • Комоды и тумбы
          • Комоды белые
          • Комоды современные
          • Тумбы под тв
          • Тумбы навесные
        • Диваны
          • Назад
          • Диваны
          • Диваны прямые
          • Диваны угловые
          • Диваны кожаные
      • Спальня Спальня
        • Назад
        • Спальня
        • Кровати
          • Назад
          • Кровати
          • Кровати двуспальные
          • Кровати полутораспальные
          • Кровати односпальные
          • Кровати с ящиками
          • Кровати откидные
        • Шкафы
          • Назад
          • Шкафы
          • Шкафы для белья
          • Шкафы угловые
          • Шкафы прямые
          • Шкафы навесные
          • Шкафы купе
          • Шкафы витрины
          • Шкафы комбинированные
        • Комоды и тумбы
          • Назад
          • Комоды и тумбы
          • Комоды белые
          • Трюмо
          • Тумбы прикроватные
          • Тумбы навестные
        • Текстиль
          • Назад
          • Текстиль
          • Постельное белье
          • Подушки
          • Одеяла
          • Пледы
          • Покрывала
          • Шторы
        • Освещение для спальни
          • Назад
          • Освещение для спальни
          • Люстры потолочные
          • Люстры подвесные
          • Настольные лампы
          • Торшеры
          • Бра
        • Декор
          • Назад
          • Декор
          • Журнальные столики
          • Зеркала
          • Часы
      • Прихожая Прихожая
        • Назад
        • Прихожая
        • Вешалки
          • Назад
          • Вешалки
          • Вешалки напольные
          • Вешалки настенные
          • Вешалки с полкой
          • Вешалки с ящиками
        • Шкафы
          • Назад
          • Шкафы
          • Шкафы купе
          • Шкафы для обуви
          • Шкафы угловые
          • Шкафы прямые
          • Шкафы комбинированные
        • Комоды
          • Назад
          • Комоды
          • Комоды модерн
          • Тумбы для обуви
          • Тумбы комбинированные
          • Стеллажи для обуви
        • Банкетки и пуфы
          • Назад
          • Банкетки и пуфы
          • Банкетки для обуви
          • Банкетки с ящиками
          • Пуфы с ящиками
        • Освещение для прихожей
          • Назад
          • Освещение для прихожей
          • Накладные светильники
          • Бра
          • Светильники подвесные
          • Подсветки
          • Настольные лампы
      • Кухня Кухня
        • Назад
        • Кухня
        • Столы и стулья
          • Назад
          • Столы и стулья
          • Столы обеденные
          • Столы барные
          • Столы овальные
          • Стулья обеденные
          • Стулья барные
          • Табуреты барные
          • Столы книжки
        • Мягкая мебель для кухни
          • Назад
          • Мягкая мебель для кухни
          • Диваны угловые
          • Диваны прямые
          • Диваны раскладные
          • Диваны с ящиками
          • Кухонные уголки
          • Пуфы
        • Посуда
          • Назад
          • Посуда
          • Наборы столовой посуды
          • Сковороды
          • Кастрюли
          • Формы для выпечки
          • Кружки
          • Бокалы
          • Стаканы
          • Ножи
        • Кухонное освещение
          • Назад
          • Кухонное освещение
          • Подвесные светильники
          • Светильники на штанге
          • Светильники накладные
          • Светильники встраиваемые
          • Люстры потолочные
        • Кухонные гарнитуры
          • Назад
          • Кухонные гарнитуры
          • Кухонные гарнитуры
          • Обеденные гарнитуры
        • Декор
          • Назад
          • Декор
          • Винные стеллажи
          • Шторы
          • Скатерти
          • Жалюзи
          • Часы
      • Детская Детская
        • Назад
        • Детская
        • Детская мягкая мебель
          • Назад
          • Детская мягкая мебель
          • Диваны детские
          • Кресла детские
          • Пуфы детские
          • Диваны еврокнижки
          • Диваны кушетки
          • Кресла мешки
          • Кресла компьютерные
        • Шкафы и стенки
          • Назад
          • Шкафы и стенки
          • Шкафы детские
          • Шкафы угловые
          • Шкафы прямые
          • Стенки детские
          • Шкафы книжные
          • Шкафы купе
          • Стенки современные
        • Комоды и тумбы
          • Назад
          • Комоды и тумбы
          • Комоды детские
          • Комоды белые
          • Тумбы детские
          • Стеллажи книжные
          • Полки
        • Столы и стулья
          • Назад
          • Столы и стулья
          • Столы детские
          • Столы письменные
          • Столы компьютерные
          • Стулья детские
          • Стулья компьютерные
        • Кровати
          • Назад
          • Кровати
          • Диваны детские
          • Кровати полутораспальные
          • Кровати двухъярусные
          • Кровати с ящиками
        • Детский текстиль
          • Назад
          • Детский текстиль
          • Комплекты постельного белья
          • Одеяла детские
          • Наматрасники детские
          • Пледы детские
          • Ковры детские
        • Освещение для детской
          • Назад
          • Освещение для детской
          • Люстры подвесные
          • Люстры потолочные
          • Светильники накладные
          • Светильники на штанге
          • Лампы настольные
          • Бра детские
      • Декор Декор
        • Назад
        • Декор
        • Зеркала Зеркала
        • Электрокамины Электрокамины
        • Часы Часы
        • Фонтаны Фонтаны
      • Мебель Мебель
        • Назад
        • Мебель
        • Банкетки Банкетки
        • Вешалки Вешалки
        • Гарнитуры Гарнитуры
        • Диваны Диваны
        • Комоды Комоды
        • Кресла Кресла
        • Кровати Кровати
        • Кухонные гарнитуры Кухонные гарнитуры
        • Кухонные уголки Кухонные уголки
        • Полки Полки
        • Пуфы Пуфы
        • Стеллажи Стеллажи
        • Стенки Стенки
        • Столы Столы
        • Стулья Стулья
        • Табуреты Табуреты
        • Тумбы Тумбы
        • Шкафы Шкафы
      • Посуда Посуда
        • Назад
        • Посуда
        • Бокалы Бокалы
        • Держатели для бумажных полотенец Держатели для бумажных полотенец
        • Диспенсеры для напитков Диспенсеры для напитков
        • Доски разделочные Доски разделочные
        • Кастрюли Кастрюли
        • Ковши Ковши
        • Кружки Кружки
        • Кувшины Кувшины
        • Пароварки Пароварки
        • Масленки Масленки
        • Менажницы Менажницы
        • Миски Миски
        • Салатники Салатники
        • Тарелки Тарелки
        • Сахарницы Сахарницы
        • Стаканы Стаканы
        • Стопки Стопки
        • Формы для выпечки Формы для выпечки
        • Ножи Ножи
        • Рюмки Рюмки
        • Наборы столовой посуды Наборы столовой посуды
        • Подносы Подносы
        • Сковороды Сковороды
        • Сотейники Сотейники
        • Тортовницы Тортовницы
        • Френч-прессы Френч-прессы
        • Чайники Чайники
      • Свет Свет
        • Назад
        • Свет
        • Бра Бра
        • Люстры Люстры
        • Настольные лампы Настольные лампы
        • Подсветки Подсветки
        • Прожекторы Прожекторы
        • Светильники Светильники
        • Споты Споты
        • Торшеры Торшеры
        • Уличные светильники Уличные светильники
        • Фонарные столбы Фонарные столбы
      • Текстиль Текстиль
        • Назад
        • Текстиль
        • Карнизы Карнизы
        • Коврики для ванной Коврики для ванной
        • Ковры Ковры
        • Матрасы Матрасы
        • Наматрасники Наматрасники
        • Одеяла Одеяла
        • Пледы Пледы
        • Подушки Подушки
        • Покрывала Покрывала
        • Портьеры Портьеры
        • Скатерти Скатерти
        • Халаты Халаты
    • Услуги
      • Назад
      • Услуги
      • Сборка мебели
        • Назад
        • Сборка мебели
        • Сборка мелкой мебели
        • Сборка стандартной мебели
        • Сборка крупной мебели
      • Установка и подключение светильников
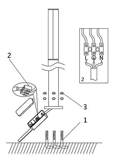
        • Назад
        • Установка и подключение светильников
        • Подключение бра и торшеров
        • Подключение люстр
    • Бренды
    • Блог
    • Как купить
      • Назад
      • Как купить
      • Условия оплаты
      • Условия доставки
      • Гарантия на товар
    • Контакты
    • Личный кабинет
    • Корзина0
    • Избранные товары0
    • Сравнение товаров0
    Контактная информация

    115201, Москва
    2-й Котляковский пер., д. 3

    192007, Санкт-Петербург
    наб. Обводного Канала, д. 64

    mail@comforama.ru
    • Вконтакте
    • Telegram
    • Viber
    • Viber
    • WhatsApp

    Фирменный магазин Globo

    Главная
    —
    Справочная информация
    —
    Производители
    —Фирменный магазин Globo
    Globo
    Товары


    Разделы товаров
    • Бра137
    • Зеркала11
    • Люстры320
    • Настольные лампы208
    • Подсветки4
    • Прожекторы14
    • Светильники1425
    • Споты393
    • Торшеры161
    • Уличные светильники84
    • Фонарные столбы2
    Фильтр
    По умолчанию (возрастание)
    По популярности (убывание)
    По популярности (возрастание)
    По алфавиту (убывание)
    По алфавиту (возрастание)
    По цене (убывание)
    По цене (возрастание)
    Наземный низкий светильник Globo Candela 3135S1
    Наземный низкий светильник Globo Candela 3135S1
    Есть в наличии: 2
    Арт.: GB_3135S1
    10 100 ₽
    КупитьВ корзине
    КупитьВ корзине
    Наземный низкий светильник Globo Solar 33270
    Наземный низкий светильник Globo Solar 33270
    Есть в наличии: 2
    Арт.: GB_33270
    5 050 ₽
    КупитьВ корзине
    КупитьВ корзине
    Наземный низкий светильник Globo Alido 34571
    Наземный низкий светильник Globo Alido 34571
    Есть в наличии: 1
    Арт.: GB_34571
    9 600 ₽
    КупитьВ корзине
    КупитьВ корзине
    Наземный высокий светильник Globo Boston 3159S Наземный высокий светильник Globo Boston 3159S Наземный высокий светильник Globo Boston 3159S Наземный высокий светильник Globo Boston 3159S Наземный высокий светильник Globo Boston 3159S
    Наземный высокий светильник Globo Boston 3159S
    Есть в наличии: 1
    Арт.: GB_3159S
    15 600 ₽
    КупитьВ корзине
    КупитьВ корзине
    Наземный высокий светильник Globo Nollo 31993 Наземный высокий светильник Globo Nollo 31993 Наземный высокий светильник Globo Nollo 31993 Наземный высокий светильник Globo Nollo 31993 Наземный высокий светильник Globo Nollo 31993
    Наземный высокий светильник Globo Nollo 31993
    Есть в наличии: 3
    Арт.: GB_31993
    12 000 ₽
    КупитьВ корзине
    КупитьВ корзине
    Наземный высокий светильник Globo Nina 32409S2 Наземный высокий светильник Globo Nina 32409S2 Наземный высокий светильник Globo Nina 32409S2
    Наземный высокий светильник Globo Nina 32409S2
    Есть в наличии: 1
    Арт.: GB_32409S2
    26 200 ₽
    КупитьВ корзине
    КупитьВ корзине
    Наземный высокий светильник Globo Boston 3159W Наземный высокий светильник Globo Boston 3159W Наземный высокий светильник Globo Boston 3159W Наземный высокий светильник Globo Boston 3159W
    Наземный высокий светильник Globo Boston 3159W
    Нет в наличии
    Арт.: GB_3159W
    Под заказ
    Наши менеджеры обязательно свяжутся с вами и уточнят условия заказа
    Под заказ
    Наши менеджеры обязательно свяжутся с вами и уточнят условия заказа
    Наземный высокий светильник Globo Horace 31357S
    Наземный высокий светильник Globo Horace 31357S
    Нет в наличии
    Арт.: GB_31357S
    Под заказ
    Наши менеджеры обязательно свяжутся с вами и уточнят условия заказа
    Под заказ
    Наши менеджеры обязательно свяжутся с вами и уточнят условия заказа
    Наземный низкий светильник Globo Horace 31356S
    Наземный низкий светильник Globo Horace 31356S
    Нет в наличии
    Арт.: GB_31356S
    Под заказ
    Наши менеджеры обязательно свяжутся с вами и уточнят условия заказа
    Под заказ
    Наши менеджеры обязательно свяжутся с вами и уточнят условия заказа
    Наземный низкий светильник Globo Horace 31358
    Наземный низкий светильник Globo Horace 31358
    Нет в наличии
    Арт.: GB_31358
    Под заказ
    Наши менеджеры обязательно свяжутся с вами и уточнят условия заказа
    Под заказ
    Наши менеджеры обязательно свяжутся с вами и уточнят условия заказа
    Наземный высокий светильник Globo Horace 31357
    Наземный высокий светильник Globo Horace 31357
    Нет в наличии
    Арт.: GB_31357
    Под заказ
    Наши менеджеры обязательно свяжутся с вами и уточнят условия заказа
    Под заказ
    Наши менеджеры обязательно свяжутся с вами и уточнят условия заказа
    Наземный низкий светильник Globo Horace 31356
    Наземный низкий светильник Globo Horace 31356
    Нет в наличии
    Арт.: GB_31356
    Под заказ
    Наши менеджеры обязательно свяжутся с вами и уточнят условия заказа
    Под заказ
    Наши менеджеры обязательно свяжутся с вами и уточнят условия заказа
    Наземный низкий светильник Globo Boston 31588A
    Наземный низкий светильник Globo Boston 31588A
    Нет в наличии
    Арт.: GB_31588A
    Под заказ
    Наши менеджеры обязательно свяжутся с вами и уточнят условия заказа
    Под заказ
    Наши менеджеры обязательно свяжутся с вами и уточнят условия заказа
    Наземный низкий светильник Globo Boston 3158K
    Наземный низкий светильник Globo Boston 3158K
    Нет в наличии
    Арт.: GB_3158K
    Под заказ
    Наши менеджеры обязательно свяжутся с вами и уточнят условия заказа
    Под заказ
    Наши менеджеры обязательно свяжутся с вами и уточнят условия заказа
    Наземный высокий светильник Globo Leva 34582
    Наземный высокий светильник Globo Leva 34582
    Нет в наличии
    Арт.: GB_34582
    Под заказ
    Наши менеджеры обязательно свяжутся с вами и уточнят условия заказа
    Под заказ
    Наши менеджеры обязательно свяжутся с вами и уточнят условия заказа
    Наземный высокий светильник Globo Bolton 34169S2
    Наземный высокий светильник Globo Bolton 34169S2
    Нет в наличии
    Арт.: GB_34169S2
    Под заказ
    Наши менеджеры обязательно свяжутся с вами и уточнят условия заказа
    Под заказ
    Наши менеджеры обязательно свяжутся с вами и уточнят условия заказа
    Наземный низкий светильник Globo Forca 34208KS
    Наземный низкий светильник Globo Forca 34208KS
    Нет в наличии
    Арт.: GB_34208KS
    Под заказ
    Наши менеджеры обязательно свяжутся с вами и уточнят условия заказа
    Под заказ
    Наши менеджеры обязательно свяжутся с вами и уточнят условия заказа
    Наземный низкий светильник Globo Dalia 34575
    Наземный низкий светильник Globo Dalia 34575
    Нет в наличии
    Арт.: GB_34575
    Под заказ
    Наши менеджеры обязательно свяжутся с вами и уточнят условия заказа
    Под заказ
    Наши менеджеры обязательно свяжутся с вами и уточнят условия заказа
    Наземный низкий светильник Globo Solar 33770-3
    Наземный низкий светильник Globo Solar 33770-3
    Нет в наличии
    Арт.: GB_33770-3
    Под заказ
    Наши менеджеры обязательно свяжутся с вами и уточнят условия заказа
    Под заказ
    Наши менеджеры обязательно свяжутся с вами и уточнят условия заказа
    Наземный низкий светильник Globo 33254 33254-3
    Наземный низкий светильник Globo 33254 33254-3
    Нет в наличии
    Арт.: GB_33254-3
    Под заказ
    Наши менеджеры обязательно свяжутся с вами и уточнят условия заказа
    Под заказ
    Наши менеджеры обязательно свяжутся с вами и уточнят условия заказа
    Показать еще
    1 2 3 4 5
    Список брендов

    Разделы товаров
    • Бра137
    • Зеркала11
    • Люстры320
    • Настольные лампы208
    • Подсветки4
    • Прожекторы14
    • Светильники1425
    • Споты393
    • Торшеры161
    • Уличные светильники84
    • Фонарные столбы2
    Фильтр
    Сортировка
    • По популярности (убывание)
    • По популярности (возрастание)
    • По алфавиту (убывание)
    • По алфавиту (возрастание)
    • По цене (убывание)
    • По цене (возрастание)
    Розничная цена
    1000
    18798
    36595
    54393
    72190
    Вид
    Особенности
    Цвет
    ?
    Можно выбрать несколько цветов. Например, если отмечены "черный" и "белый", будут отсортированы товары в которых присутствует один из этих цветов, а не только черно-белые товары.
    Ширина, мм
    80
    130
    180
    230
    280
    Высота, мм
    150
    563
    975
    1388
    1800
    Выступ, мм
    85
    134
    183
    231
    280
    Глубина, мм
    123
    124
    124
    125
    125
    Количество плафонов
    1
    2
    2
    3
    3
    Страна производителя
    Наши предложения
    Диаметр, мм
    40
    230
    420
    610
    800
    Выбрано 0 Показать
    Выбрано 0 Показать
    Мебель
    Свет
    Посуда
    Текстиль
    Декор
    Услуги
    Компания
    Отзывы
    Контакты
    Информация
    152-ФЗ
    Вопрос-ответ
    Бренды
    Как оформить заказ
    Условия оплаты
    Условия доставки
    Гарантия на товар
    mail@comforama.ru

    115201, Москва
    2-й Котляковский пер., д. 3

    192007, Санкт-Петербург
    наб. Обводного Канала, д. 64

    • Вконтакте
    • Telegram
    • Viber
    • Viber
    • WhatsApp
    2009 - 2026 © comforama.ru | Интернет-магазин товаров для дома с доставкой по всей России | Осуществляем доставку курьером в городах: Москва, Санкт-Петербург, Бронницы, Великий Новгород, Владимир, Воронеж, Воскресенск, Вязники, Гороховец, Дзержинск, Иваново, Клин, Ковров, Коломна, Кострома, Липецк, Луховицы, Минск, Наро-Фоминск, Нижний Новгород, Обнинск, Рязань, Серпухов, Солнечногорск, Тверь, Тула, Чехов, Ярославль | Информация, Сайт носят исключительно информационный характер. Ни при каких условиях цены, размещенные на сайте, не являются публичной офертой (положения Статей 435 и 437 ГК РФ). Ваш заказ, стоимость и наличие товара, будут подтверждены менеджером, по номеру телефона или адресу электронной почты, указанными при заказе. Мы используем файлы cookie, разработанные нашими специалистами и третьими лицами, для анализа событий на нашем веб-сайте, что позволяет нам улучшать взаимодействие с пользователями и обслуживание. Продолжая просмотр страниц нашего сайта, вы принимаете условия его использования.
    Каталог
    По всему сайту
    По каталогу